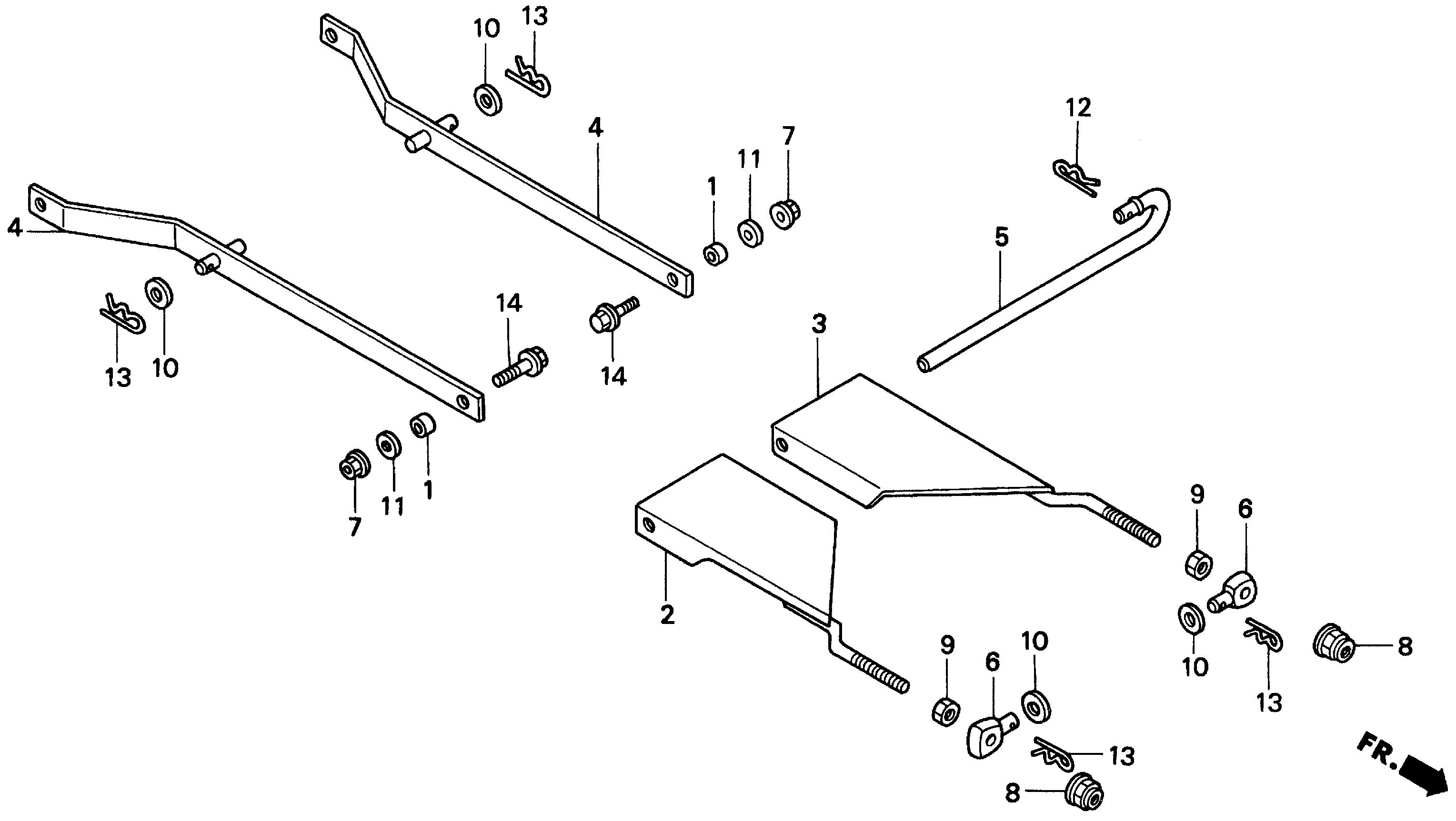
Lawn Tractor H H2113 H2113 HMA MZBF-6200001-9999999 CUTTER DECK LINK - Ace Hardware & Garden Center

Ref No
Part Number
Description
Serial Range
Qty
Price

Ref No
1
Part Number
53103-GN5-960
Description
COLLAR, HANDLE SETTING
Serial Range
1000001 - 9999999

Ref No
2
Part Number
76168-771-L00
Description
LINK, R. FR. DECK
Serial Range
1000001 - 9999999

Ref No
3
Part Number
76169-771-L00
Description
LINK, L. FR. DECK
Serial Range
1000001 - 9999999
Qty
Price
$41.08

Ref No
4
Part Number
76175-771-L00
Description
LINK, RR. DECK
Serial Range
1000001 - 9999999
Qty
Price
$15.68

Ref No
5
Part Number
76179-771-L00
Description
SHAFT, FR. LINK
Serial Range
1000001 - 9999999

Ref No
6
Part Number
76186-771-000
Description
PIN, LINK ADJUSTING
Serial Range
1000001 - 9999999

Ref No
7
Part Number
90309-GE2-000
Description
NUT, FLANGE (8MM)
Serial Range
1000001 - 9999999
Qty
Price
$5.02

Ref No
8
Part Number
90380-SB2-003
Description
NUT, SELF-LOCK (OHASHI)
Serial Range
1000001 - 9999999
Qty
Price
$2.40

Ref No
9
Part Number
94001-12080-0S
Description
NUT, HEX. (12MM)
Serial Range
1000001 - 9999999
Qty
Price
$2.12

Ref No
10
Part Number
94101-14800
Description
WASHER, PLAIN (14MM)
Serial Range
1000001 - 9999999
Qty
Price
$1.50

Ref No
11
Part Number
94103-08800
Description
WASHER, PLAIN (8MM)
Serial Range
1000001 - 9999999
Qty
Price
$1.14

Ref No
12
Part Number
94252-12000
Description
PIN, LOCK (12MM)
Serial Range
1000001 - 9999999
Qty
Price
$1.74

Ref No
13
Part Number
94252-14000
Description
PIN, LOCK (14MM)
Serial Range
1000001 - 9999999
Qty
Price
$2.52

Ref No
14
Part Number
95701-08030-08
Description
BOLT, FLANGE (8X30)
Serial Range
1000001 - 9999999
Qty
Price
$1.76