Generators EB EB12 EB12D AG/A ECD-1010001-1099999 BATTERY - Ace Hardware & Garden Center

Ref No
Part Number
Description
Serial Range
Qty
Price

Ref No
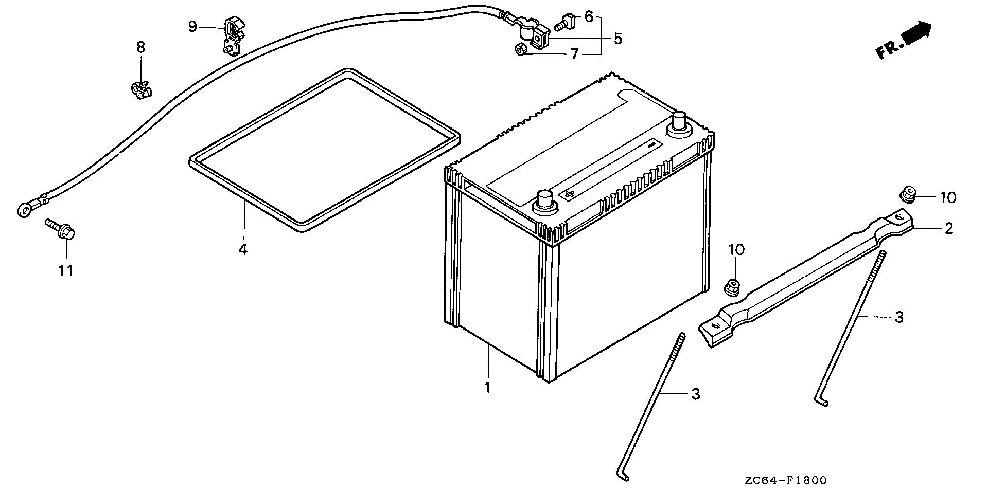
1
Part Number
31500-ZC6-631
Description
BATTERY ASSY. (55B24R S-MF) (YUASA) (NOT AVAILABLE)
Serial Range
1003904 - 9999999

Ref No
2
Part Number
31512-634-000
Description
PLATE, BATTERY SETTING (NOT AVAILABLE)
Serial Range
1000001 - 9999999

Ref No
3
Part Number
31513-SB2-000
Description
BOLT, BATTERY SETTING
Serial Range
1000001 - 9999999
Qty
Price
$10.50

Ref No
4
Part Number
31521-SD9-000
Description
BOX ASSY., BATTERY
Serial Range
1000001 - 9999999
Qty
Price
$38.28

Ref No
5
Part Number
32600-ZC6-690
Description
CABLE ASSY., GROUND
Serial Range
1000001 - 9999999

Ref No
6
Part Number
32601-SK7-900
Description
BOLT, BATTERY TERMINAL
Serial Range
1000001 - 9999999
Qty
Price
$11.54

Ref No
7
Part Number
32602-SK7-900
Description
NUT, BATTERY TERMINAL
Serial Range
1000001 - 9999999
Qty
Price
$7.06

Ref No
8
Part Number
90623-SB0-003
Description
CLIP, WIRE HARNESS (8MM) (BLACK)
Serial Range
1000001 - 9999999
Qty
Price
$6.64

Ref No
9
Part Number
90678-ZA0-601
Description
CLIP, HARNESS (5MM-15MM) (BLACK)
Serial Range
1000001 - 9999999
Qty
Price
$3.90

Ref No
10
Part Number
94050-06080
Description
NUT, FLANGE (6MM)
Serial Range
1000001 - 9999999

Ref No
11
Part Number
95701-08012-08
Description
BOLT, FLANGE (8X12)
Serial Range
1000001 - 9999999
Qty
Price
$2.20